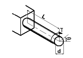
17-5. Torsion bar

17-5. Torsion bar Symbol description and unit
Torsion bar springiTorsion barj Screw angle:@k Every timel
ƒÆ=32*M*L*(180/ƒÎ)/(ƒÎ*(d24-d14)*G)
Į=

Maximum shear stress:@kkgf/mm2l
ƒÑmax=16*d2*M/(ƒÎ*(d24-d14))
Ąmax=
d1F Inner diameter@kmml
d2F Outer diameter@kmml
LF Effective length of spring@kmml
MFTorsion moment@kkgf¥mml
GFLateral moduluskkgf/mm2l
Lateral modulus G The value of the(Kgf/mm2)

Piano wireiSWPA,SWPBj@8000

Spring steel(SUP)@@@@@@ @8000

Oil temper wire(SWO)@8000

Stainless steel wire(SUS-WH)
7000`7500

Stainless steel wire for springs(SUS-WP)
7000`7500
Reference: "Machine Official Collection" (co-authored by Masaaki Oishi / Tatsuo Inami) Mechanical Design Spring Page 100 Twisted bar spring (torsion bar).