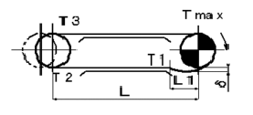
20-1. Calculation formula of tension acting on the chain
( Horizontal transport)
20-1. Calculation formula of tension acting on the chain
( Horizontal transport)
Symbol description and unit
Static tension acting on the chain[kgf]
T
1
=1.35*M*L
1
[kgf]
T
1
=
T
2
=(L-L
1
)*M*f
1
+T
1
[kgf]
T
2
=
T
3
=1.1*T
2
[kgf]
T
3
=
T
MAX
=(W+M)*f
1
*L+W*f
2
*L+T
3
[kgf]
T
MAX
=
T
MAX
:Maximum static tension acting on the chain [kgf]
M: Weight of movable carrier( Weight of chain * number, bucket, apron, etc) [kgf/m]
L
1
:Catenary length [m]
L: Sprocket center distance( horizontal direction)[m]
f
1
: Coefficient of friction between chain and guide rail
W: Weight per unit length of goods to be transported [kgf/m]
f
2
: Coefficient of friction between the transported object and the chain when accumulating
Calculation of required power of drive motor
kW=T
MAX
*V*α/(102*60*η)
kW=
T
MAX
: Maximum static tension acting on the chain [kgf]
V: Transport speed( Chain speed) [m/min]
α:Motor safety factor
η: Machine transmission efficiency of the drive unit
Calculation of drive motor reduction ratio
K=Z
1
*P*Z
2
/Z
3
*R/V/1000
K=
(K: Motor reduction ratio)
V: Transport speed( Chain speed) [m/min]
Z
1
: Number of teeth on conveyor chain sprocket
Z
2
: Number of teeth on the drive shaft sprocket
Z
3
: Number of teeth on the motor shaft sprocket
R:Synchronous rotation speed of the motor
60Hz:1800 RPM
50Hz:1500 RPM
P: Chain pitch[mm]
Chain tension and motor power calculation explanatory diagram
Motor reduction ratio calculation explanatory diagram