20-3. Calculation formula of tension acting on the chain
( Inclined transport)
20-3. Calculation formula of tension acting on the chain
(Inclined transport)
Symbol description and unit
Static tension acting on the chain[kgf]
T
1
=M*(L*f
1
-H) 〔kgf〕
T
1
=
T
1
< When 0, T
2
= Set to 0
T
2
=1.1*T
1
〔kgf〕
T
2
=
T
MAX
=W*(L*f+H)+M*(L*f
1
+H)+T
2
[kgf]
T
MAX
=
T
MAX
: Maximum static tension acting on the chain [kgf]
M:Weight of movable carrier(Chain * number, bucket,Weight of apron etc.) [kgf/m]
H:Sprocket center distance(Vertical direction) [m]
W:Weight per unit length of goods to be transported [kgf/m]
f:Coefficient of friction against the transported object
( When not accumulating、f=f
1
Coefficient of friction between chain and guide rail
When accumulating、 Transport and bottom plate、 Coefficient of friction with side plate)
L: Sprocket center distance(horizontal direction) [m]
f
1
:Coefficient of friction between chain and guide rail
Calculation of required power of drive motor
kW=T
MAX
*V*α/(102*60*η)
kW=
T
MAX
: Maximum static tension acting on the chain〔kgf〕
V: Transport speed(Chain speed) [m/min]
α:Motor safety factor
η:Machine transmission efficiency of the drive unit
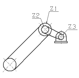
Calculation of drive motor reduction ratio
K=Z
1
*P*Z
2
/Z
3
*R/V/1000
K=
(K:Motor reduction ratio)
V: Transport speed( Chain speed) [m/min]
Z
1
:Number of teeth on conveyor chain sprocket
Z
2
: Number of teeth on the drive shaft sprocket
Z
3
:Number of teeth on the motor shaft sprocket
R:Synchronous rotation speed of the moto
60Hz:1800 RPM
50Hz:1500 RPM
P: Chain pitch[mm]
Chain tension and motor power calculation explanatory diagram
Motor reduction ratio calculation explanatory diagram