21.Calculation formula for drive roller converter
21. Calculation formula for drive roller converter
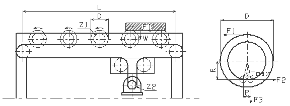
Symbol description and unit
Calculation formula for drive roller converter
(1)α: Angle between sprocket teeth [ Every time]
α=360/Z
1
α=
(2)Tangent force required to transport the transported object at the roller outer diameter position [kgf]
F
1
=W*f
1
*L
F
1
=
(3)The force required to rotate the rollers at the drive chain position [kgf]
F
2
=F
1
*D/2/R
F
2
=
(4) The force with which the roller sprocket pushes the chain vertically [kgf]
F
3
=F
2
*tan(α)
F
3
=
(5)Maximum static tension acting on the chain [kgf]
T
max
=(F
3
+M*L*2*1.1)*f
2
+F
2
T
max
=
(6) Required power of drive motor [kgf]
kW=T
max
*V*α
0
/(102*60*η)
kW=
(7)Drive motor reduction ratio
K=R
m
*Z
2
/Z
1
*D*π/V/1000
K=
Z
1
:Number of teeth on Laura Sprocket
Z
2
:Number of teeth on the motor shaft sprocket
W: Weight per unit length of goods to be transported [kgf/m]
f
1
: Coefficient of friction
f
2
: Coefficient of friction between chain and guide rail
L:Conveyor belt captain [m]
R: Distance from roller center to drive chain center [mm]
D: Roller outer diameter [mm]
V: Transport speed( Chain speed) [m/min]
α
0
: Motor safety factor
η: Machine transmission efficiency of the drive unit
R
m
:Synchronous rotation speed of the motor
60Hz:1800 RPM
50Hz:1500 RPM
M: Weight per unit length of drive chain [kg/m]
Calculation explanatory diagram of drive roller converter