6.Calculation formula of power of rotary motion

6.Calculation formula of power of rotary motion Symbol description and unit
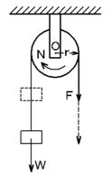
(1) torque T=F*r   [kgf・m]
T=
F:The power to work[kgf]
r: Radius [m]
(2-1)power PkW=T*ω*π/(102*180)   [kW]
PkW=
T: torque [kgf・m]
ω: Angular velocity [degree / s]
(2-2) power PkW=2*π*N*T/(102*60)  [kW]
PkW=
N: Rotation speed[rpm]
T: torque[kgf・m]
(3) Conversion of power unit 1kgf・m/s=9.8J/s=9.8W    

1W=0.102kgf・m/s=1J/s

1kW=102kgf・m/s≒1.36S

1PS=75kgf・m=0.736kW
References: "Machine Official Collection" (co-authored by Masaaki Oishi / Tatsuo Inami) Industrial Mechanics, page 29, referring to the power of rotational motion.