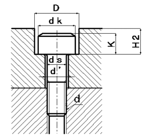
| unit=mm | |||||||
| Nominal screw (d) | ds | d' | dk | D | K | H1 | H2 |
|---|---|---|---|---|---|---|---|
| M3 | 3 | 3.4 | 5.5 | 6.5 | 3 | 2.7 | 3.3 |
| M4 | 4 | 4.5 | 7 | 8 | 4 | 3.6 | 4.4 |
| M5 | 5 | 5.5 | 8.5 | 9.5 | 5 | 4.6 | 5.4 |
| M6 | 6 | 6.6 | 10 | 11 | 6 | 5.5 | 6.5 |
| M8 | 8 | 9 | 13 | 14 | 8 | 7.4 | 8.6 |
| M10 | 10 | 11 | 16 | 17.5 | 10 | 9.2 | 10.8 |
| M12 | 12 | 14 | 18 | 20 | 12 | 11 | 13 |
| M14 | 14 | 16 | 21 | 23 | 14 | 12.8 | 15.2 |
| M16 | 16 | 18 | 24 | 26 | 16 | 14.5 | 17.5 |
| M20 | 20 | 22 | 30 | 32 | 20 | 18.5 | 21.5 |
| M24 | 24 | 26 | 36 | 39 | 24 | 22.5 | 25.5 |
|
|||||||