17-5.トーションバー
17-5.トーションバー
記号説明及び単位
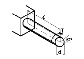
ねじり棒ばね(トーションバー)
ねじリ角: 〔度〕
θ=32*M*L*(180/π)/(π*(d
2
4
-d
1
4
)*G)
θ=
最大せん断応力: 〔kgf/mm
2
〕
τ
max
=16*d
2
*M/(π*(d
2
4
-d
1
4
))
τ
max
=
d
1
:内径 〔mm〕
d
2
:外径 〔mm〕
L:ばねの有効長 〔mm〕
M:ねじりモーメント 〔kgf・mm〕
G:横弾性係数〔kgf/mm
2
〕
横弾性係数 G の値(Kgf/mm
2
)
ピアノ線(SWPA,SWPB) 8000
ばね鋼(SUP) 8000
オイルテンパー線(SWO) 8000
ステンレス鋼線(SUS-WH)
7000〜7500
ばね用ステンレス鋼線(SUS-WP)
7000〜7500
参考文献:「機械公式集」 (大石正昭/稲見辰夫 共著) 機械設計 ばね 第100頁 ねじり棒ばね(トーションバー)を参考。