20-3.チェーンに作用する張力の計算式
(傾斜搬送)
20-3.チェーンに作用する張力の計算式
(傾斜搬送)
記号説明及び単位
チェーンに作用する静的張力[kgf]
T
1
=M*(L*f
1
-H) 〔kgf〕
T
1
=
T
1
<0のときはT
2
=0とする
T
2
=1.1*T
1
〔kgf〕
T
2
=
T
MAX
=W*(L*f+H)+M*(L*f
1
+H)+T
2
[kgf]
T
MAX
=
T
MAX
:チェーンに作用する静的最大張力 [kgf]
M:可動搬送部の重量(チェーン*条数、バケット、エプロンなどの重量) [kgf/m]
H:スプロケット中心距離(垂直方向) [m]
W:搬送物の単位長さ当りの重量 [kgf/m]
f:搬送物に対する摩擦係数
(アキュームしない時、f=f
1
チェーンとガイドレールとの摩擦係数
アキュームするとき、搬送物と底板、側板との滑り摩擦係数)
L:スプロケット中心距離(水平方向) [m]
f
1
:チェーンとガイドレールとの摩擦係数
駆動モータの所要動力の計算
kW=T
MAX
*V*α/(102*60*η)
kW=
T
MAX
:チェーンに作用する静的最大張力〔kgf〕
V:搬送速度(チェーン速度) [m/min]
α:モータ安全率
η:駆動部の機械伝動効率
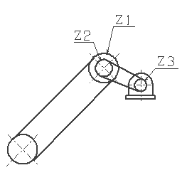
駆動モータの減速比の計算
K=Z
1
*P*Z
2
/Z
3
*R/V/1000
K=
(K:モータの減速比)
V:搬送速度(チェーン速度) [m/min]
Z
1
:コンベヤチェーンスプロケットの歯数
Z
2
:駆動軸スプロケットの歯数
Z
3
:モータ軸スプロケットの歯数
R:モータの同期回転数
60Hz:1800 RPM
50Hz:1500 RPM
P:チェーンピッチ[mm]
チェーン張力及びモータ動力計算説明図
モータの減速比計算説明図