21.駆動ローラコンべヤの計算式
21.駆動ローラコンべヤの計算式
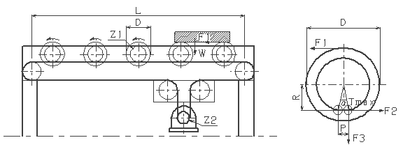
記号説明及び単位
駆動ローラコンべヤの計算式
(1)α:スプロケット歯間の角度 [度]
α=360/Z
1
α=
(2)ローラ外径位置における搬送物を搬送する為に必要な接線力 [kgf]
F
1
=W*f
1
*L
F
1
=
(3)駆動チェーン位置におけるローラを回転するに必要な力 [kgf]
F
2
=F
1
*D/2/R
F
2
=
(4)ローラスプロケットがチェーンを垂直方向に押し付ける力 [kgf]
F
3
=F
2
*tan(α)
F
3
=
(5)チェーンに作用する静的最大張力 [kgf]
T
max
=(F
3
+M*L*2*1.1)*f
2
+F
2
T
max
=
(6)駆動モータの所要動力 [kgf]
kW=T
max
*V*α
0
/(102*60*η)
kW=
(7)駆動モータの減速比
K=R
m
*Z
2
/Z
1
*D*π/V/1000
K=
Z
1
:ローラスプロケットの歯数
Z
2
:モータ軸スプロケットの歯数
W:搬送物の単位長さ当たりの重量 [kgf/m]
f
1
:コロガリ摩擦係数
f
2
:チェーンとガイドレールとの摩擦係数
L:コンベヤ機長 [m]
R:ローラセンターから駆動チェーンセンターまでの距離 [mm]
D:ローラ外径 [mm]
V:搬送速度(チェーン速度) [m/min]
α
0
:モータ安全率
η:駆動部の機械伝動効率
R
m
:モータの同期回転数
60Hz:1800 RPM
50Hz:1500 RPM
M:駆動チェーン単位長さ当たりの重量 [kg/m]
駆動ローラコンべヤの計算説明図