6.回転運動の動力の計算式

6.回転運動の動力の計算式 記号説明及び単位
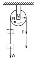
(1)トルク T=F*r   [kgf・m]
T=
F:仕事をする力[kgf]
r:回転半径[m]
(2-1)動力 PkW=T*ω*π/(102*180)   [kW]
PkW=
T:トルク [kgf・m]
ω:角速度[度/s]
(2-2)動力 PkW=2*π*N*T/(102*60)  [kW]
PkW=
N:回転数[rpm]
T:トルク[kgf・m]
(3)動力の単位の換算 1kgf・m/s=9.8J/s=9.8W    

1W=0.102kgf・m/s=1J/s

1kW=102kgf・m/s≒1.36S

1PS=75kgf・m=0.736kW
参考文献:「機械公式集」 (大石正昭/稲見辰夫 共著) 工業力学 第29頁 回転運動の動力を参考。